user

BoltGroup (Excel) - checks eccentric bolted connection using AISC LRFD methods

By Yakov Polyakov
Connections and joints, Structural Systems Analysis

Description

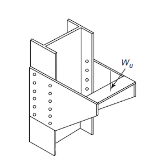
BoltGroup calculates the shear capacity of eccentric bolted connections using the AISC 16th Edition instantaneous center of rotation method (LRFD). Handling simultaneous in-plane forces and moment, it is ideal for design of gusset plates and girder splices.

The program supports irregular bolt patterns and can automatically generate standard rectangular or circular bolt layouts. It provides clear design summaries and theoretical formulas. Easily switches between SI and US customary units. For those interested, the full algorithmic workflow is documented in an accompanying Mathcad worksheet printout.

Specifications

Licence:
Commercial
Release Date:
2026-01-02
Provider:
Yakov Polyakov

Gallery